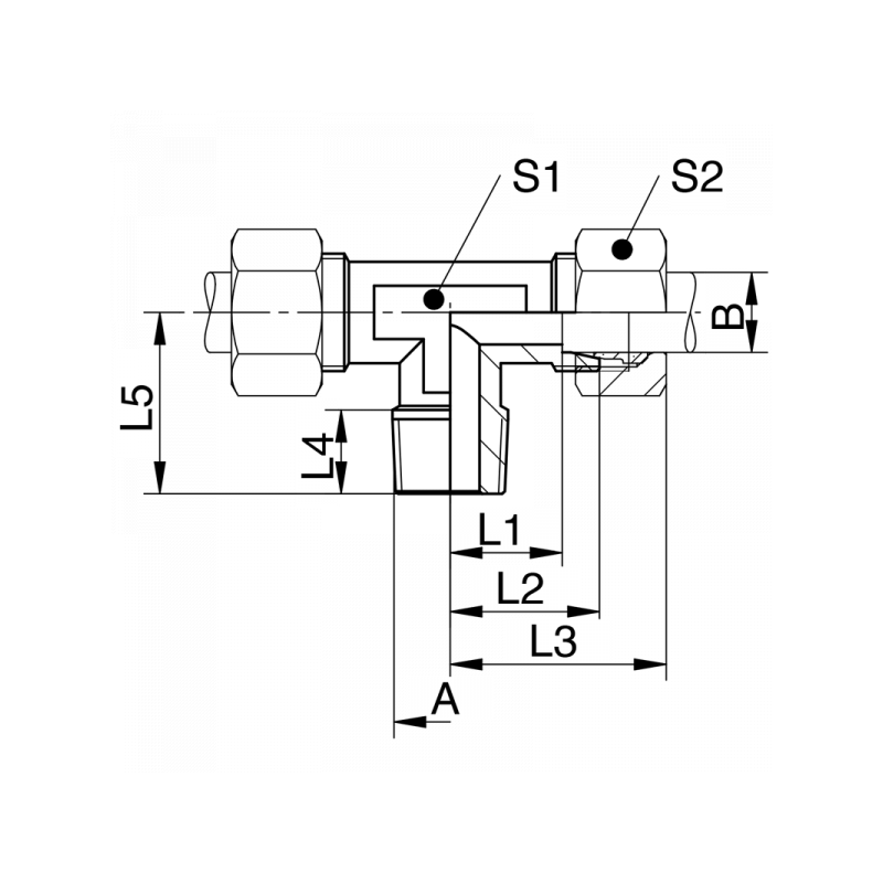
TE-LR/SR-NPT: T-Einschraubverschraubung, Einschraubgewinde NPT, leichte + schwere Reihe
| A | B | PN / Bar | L1 / mm | L2 / mm | L3 / mm | L4 / mm | L5 / mm | S1 | S2 | Material | Art.Nr. | Stutzen | |
|---|---|---|---|---|---|---|---|---|---|---|---|---|---|
| 1/8NPT | 06 | 315 | 12 | 19 | 29 | 10 | 20 | 12 | 14 | 1.4571 | TE06LN01 | XTE06LN01 | |
| 1/4NPT | 08 | 315 | 14 | 21 | 31 | 15 | 26 | 12 | 17 | 1.4571 | TE08LN02 | XTE08LN02 | |
| 1/4NPT | 10 | 315 | 15 | 22 | 33 | 15 | 27 | 14 | 19 | 1.4571 | TE10LN02 | XTE10LN02 | |
| 3/8NPT | 12 | 315 | 17 | 24 | 35 | 15 | 28 | 17 | 22 | 1.4571 | TE12LN03 | XTE12LN03 | |
| 1/2NPT | 12 | 315 | 21 | 28 | 39 | 20 | 34 | 17 | 22 | 1.4571 | TE12LN04 | XTE12LN04 | |
| 1/2NPT | 15 | 315 | 21 | 28 | 39 | 20 | 34 | 19 | 27 | 1.4571 | TE15LN04 | XTE15LN04 | |
| 1/2NPT | 18 | 315 | 23,5 | 31 | 43 | 20 | 36 | 24 | 32 | 1.4571 | TE18LN04 | XTE18LN04 | |
| 3/4NPT | 22 | 160 | 27,5 | 35 | 47 | 20 | 42 | 27 | 36 | 1.4571 | TE22LN06 | XTE22LN06 | |
| 1NPT | 28 | 160 | 30,5 | 38 | 52 | 25 | 48 | 36 | 41 | 1.4571 | TE28LN08 | XTE28LN08 | |
| 1 1/4NPT | 35 | 160 | 34,5 | 45 | 61 | 26 | 54 | 41 | 50 | 1.4571 | TE35LN10 | XTE35LN10 | |
| 1 1/2NPT | 42 | 160 | 40 | 51 | 67 | 26 | 61 | 50 | 60 | 1.4571 | TE42LN12 | XTE42LN12 | |
| 1/4NPT | 06 | 630 | 16 | 23 | 33 | 15 | 26 | 12 | 17 | 1.4571 | TE06SN02 | XTE06SN02 | |
| 1/4NPT | 08 | 630 | 17 | 24 | 34 | 15 | 27 | 14 | 19 | 1.4571 | TE08SN02 | XTE08SN02 | |
| 3/8NPT | 10 | 630 | 17,5 | 25 | 37 | 15 | 28 | 17 | 22 | 1.4571 | TE10SN03 | XTE10SN03 | |
| 3/8NPT | 12 | 630 | 22,5 | 29 | 41 | 15 | 28 | 17 | 24 | 1.4571 | TE12SN03 | XTE12SN03 | |
| 1/2NPT | 14 | 630 | 22 | 30 | 42 | 20 | 34 | 19 | 27 | 1.4571 | TE14SN04 | XTE14SN04 | |
| 1/2NPT | 16 | 400 | 24,5 | 33 | 46 | 20 | 36 | 24 | 30 | 1.4571 | TE16SN04 | XTE16SN04 | |
| 3/4NPT | 20 | 400 | 26,5 | 37 | 52 | 20 | 42 | 27 | 36 | 1.4571 | TE20SN06 | XTE20SN06 | |
| 1NPT | 25 | 400 | 30 | 42 | 58 | 25 | 48 | 36 | 46 | 1.4571 | TE25SN08 | XTE25SN08 | |
| 1 1/4NPT | 30 | 400 | 35,5 | 49 | 65 | 26 | 54 | 41 | 50 | 1.4571 | TE30SN10 | XTE30SN10 | |
| 1 1/2NPT | 38 | 250 | 41 | 57 | 76 | 26 | 61 | 50 | 60 | 1.4571 | TE38SN12 | XTE38SN12 |


