Deutsch English

GR-L: Gerade Reduzierung, leichte Reihe

Gerade Reduzierung, leichte Reihe
Gerade Reduzierung, leichte Reihe
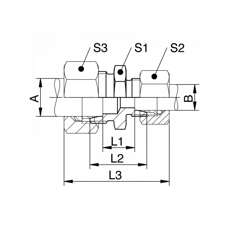
A B PN / Bar L1 / mm L2 / mm L3 / mm S1 S2 S3 Material Art.Nr. Stutzen PDF
08 06 315 11 25 45 14 14 17 1.4571 GR0806L  XGR0806L  
10 06 315 12 26 47 17 14 19 1.4571 GR1006L  XGR1006L  
10 08 315 12 26 47 17 17 19 1.4571 GR1008L  XGR1008L  
12 06 315 13 27 48 19 14 22 1.4571 GR1206L  XGR1206L  
12 08 315 13 27 48 19 17 22 1.4571 GR1208L  XGR1208L  
12 10 315 14 28 50 19 19 22 1.4571 GR1210L  XGR1210L  
15 06 315 14 28 49 24 14 27 1.4571 GR1506L  XGR1506L  
15 08 315 14 28 49 24 17 27 1.4571 GR1508L  XGR1508L  
15 10 315 15 29 51 24 19 27 1.4571 GR1510L  XGR1510L  
15 12 315 15 29 51 24 22 27 1.4571 GR1512L  XGR1512L  
18 08 315 17,5 29 54 27 17 32 1.4571 GR1808L  XGR1808L  
18 10 315 15,5 30 53 27 19 32 1.4571 GR1810L  XGR1810L  
18 12 315 15,5 30 53 27 22 32 1.4571 GR1812L  XGR1812L  
18 15 315 16,5 31 54 27 27 32 1.4571 GR1815L  XGR1815L  
22 10 160 17,5 32 55 32 19 36 1.4571 GR2210L  XGR2210L  
22 12 160 17,5 32 55 32 22 36 1.4571 GR2212L  XGR2212L  
22 15 160 18,5 33 56 32 27 36 1.4571 GR2215L  XGR2215L  
22 18 160 18 33 57 32 32 36 1.4571 GR2218L  XGR2218L  
28 10 160 19,5 34 59 41 19 41 1.4571 GR2810L  XGR2810L  
28 12 160 19,5 34 59 41 22 41 1.4571 GR2812L  XGR2812L  
28 15 160 19,5 34 59 41 27 41 1.4571 GR2815L  XGR2815L  
28 18 160 19 34 60 41 32 41 1.4571 GR2818L  XGR2818L  
28 22 160 21 36 62 41 36 41 1.4571 GR2822L  XGR2822L  
35 15 160 21,5 39 66 46 27 50 1.4571 GR3515L  XGR3515L  
35 18 160 22 39 67 46 32 50 1.4571 GR3518L  XGR3518L  
35 22 160 21 39 67 46 36 50 1.4571 GR3522L  XGR3522L  
35 28 160 21 39 69 46 41 50 1.4571 GR3528L  XGR3528L  
42 15 160 23 41 68 55 27 60 1.4571 GR4215L  XGR4215L  
42 18 160 22,5 42 70 55 32 60 1.4571 GR4218L  XGR4218L  
42 22 160 22,5 42 70 55 36 60 1.4571 GR4222L  XGR4222L  
42 28 160 22,5 42 72 55 41 60 1.4571 GR4228L  XGR4228L  
42 35 160 21,5 43 75 55 50 60 1.4571 GR4235L  XGR4235L  

Verwandte Artikel

Nehmen Sie Kontakt auf

Ja, ich habe die Datenschutzerklärung zur Kenntnis genommen und bin damit einverstanden, dass die von mir angegebenen Daten elektronisch erhoben und gespeichert werden. Meine Daten werden dabei nur streng zweckgebunden zur Bearbeitung und Beantwortung meiner Anfrage genutzt.

Quality Made in Germany
ARMATUREN-ARNDT GMBH | © 2026 | Datenschutzerklärung | AGB | Impressum