Deutsch English

Fig. 70:

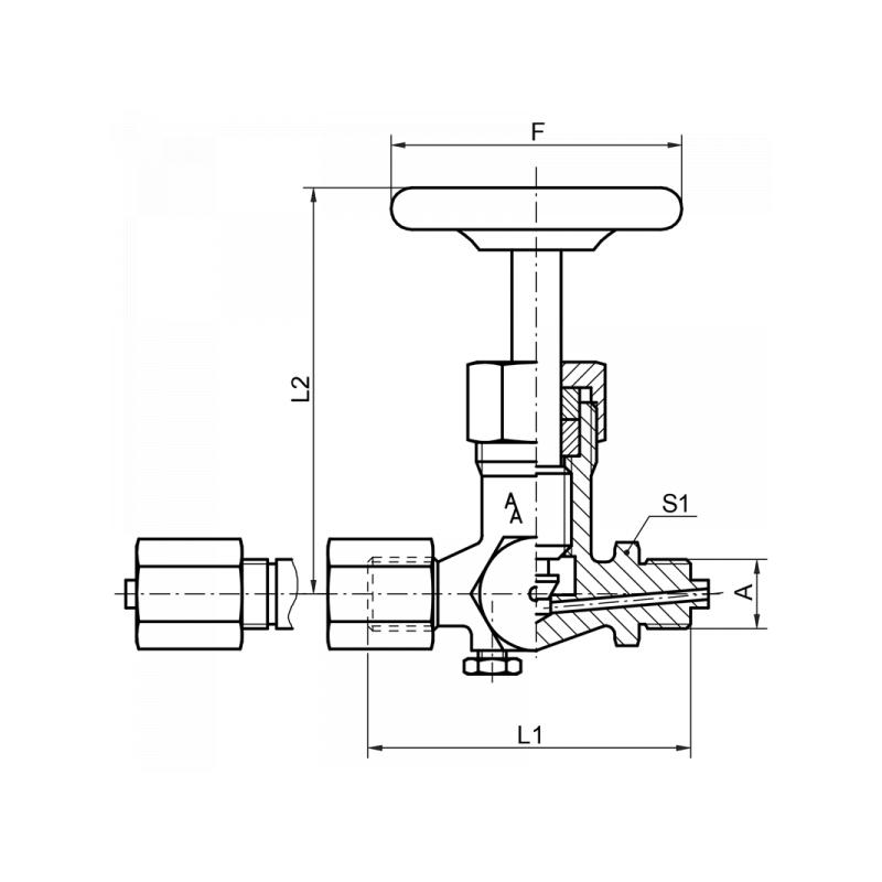
DIN A PN / Bar L1 / mm L2 / mm F / mm S1 Material Art.Nr. PDF
DIN 16271 A G1/2 400 -10°C / +120°C 100 94 63 27 1.0460 10070042  
DIN 16271 A G1/2 400 -10°C / +200°C 100 94 63 27 1.4571 10070043  
DIN 16271 A G1/2 250 -10°C / +120°C 100 100 63 27 ganz Messing 10070041GM  
DIN 16271 A G1/2 250 -10°C / +120°C 100 100 63 27 Messing 10070041  

Related articles

Contact us

Yes, i read the Privacy policy and I agree that the data I provide will be collected and stored electronically. My data is used only strictly earmarked for processing and answering my request.

Quality Made in Germany
ARMATUREN-ARNDT GMBH | © 2026 | Privacy Policy | Terms and conditions | Imprint